
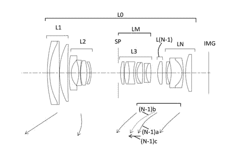
来自CR的最新消息,佳能近日在日本公布了一批新专利技术。据专利描述文件显示,此次公布的均为EF-M镜头专利,其中包括新款EF-M 15-130mm f/3.5-6.3 IS STM镜头、EF-M 18-130mm f/3.5-5.6 IS STM镜头,以及EF-M 18-200mm f/3.5-6.3 IS STM镜头的专利技术。据悉,佳能EF-M系列的新镜头在设计上主要瞄准轻量化,并且会进一步提升镜头的自动对焦性能。
佳能efm镜头新品 佳能ef系列镜头全表摄影来自CR的最新消息,佳能近日在日本公布了一批新专利技术。据专利描述文件显示,此次公布的均为EF-M镜头专利,其中包括…

来自CR的最新消息,佳能近日在日本公布了一批新专利技术。据专利描述文件显示,此次公布的均为EF-M镜头专利,其中包括新款EF-M 15-130mm f/3.5-6.3 IS STM镜头、EF-M 18-130mm f/3.5-5.6 IS STM镜头,以及EF-M 18-200mm f/3.5-6.3 IS STM镜头的专利技术。据悉,佳能EF-M系列的新镜头在设计上主要瞄准轻量化,并且会进一步提升镜头的自动对焦性能。
 微信扫一扫打赏
 微信扫一扫打赏 支付宝扫一扫打赏
 支付宝扫一扫打赏