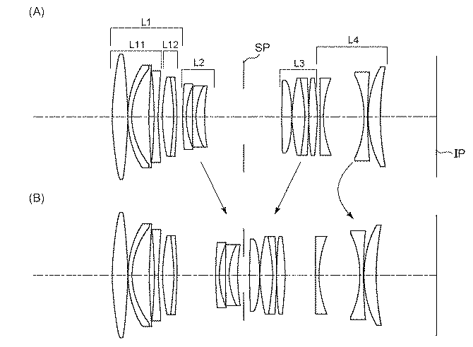
Canon Rumors报道称,佳能近期公布了RF 90mm f/2.8L IS Macro和RF 100mm f/2.8L IS Macro两款微距镜头专利。从专利图描述来看,其防抖镜头组比以往设计得更为靠前。其日本专利申请号为No.2017-108266,以下是两项专利的信息细节。

实例3:
焦距:86.00mm光圈:2.87半画角:14.12度像高:21.64mm镜头长度:115.07mm后焦距:15.93mm
实例1:
焦距:97.00mm光圈:2.92半画角:12.57度像高:21.64mm镜头长度:115.12mm后焦距:20.01mm

 Bird飞鸟翔
 Bird飞鸟翔  微信扫一扫打赏
 微信扫一扫打赏 支付宝扫一扫打赏
 支付宝扫一扫打赏