- 2025年10月31日
- 星期五
作者:RaindropSparkle 第9页
- 发表文章365篇

为什么长焦有空间压缩感 一图解释长焦镜头空间压缩提起长焦镜头,我们最容易想到的一个词儿应该就是空间压缩。都说长焦会压缩空间,那么什么是空间压缩呢?「空间压缩」又…
            
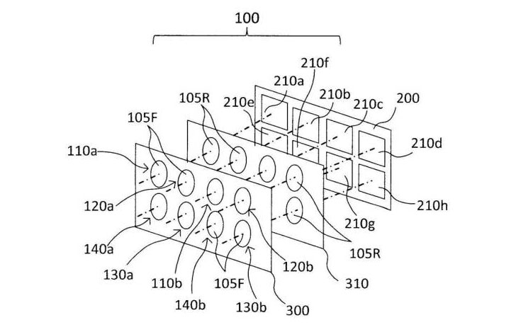
佳能公布多镜头相机系统专利了吗 佳能有多少种镜头摄影Canon Rumors报道,佳能最近公布了一项多镜头相机系统专利,该系统有点类似于Light L16相机系…
            
佳能公布三款rf超远摄定焦镜头专利 佳能超远摄镜头大全近日,佳能公布RF 400mm f/2.8 L IS USM、RF 500mm f/4 L IS USM、…
            
尼康注册号码是什么 尼康注册号码怎么打开摄影近日,尼康在相关机构注册代号N1912新机。截至目前,尼康已有6款尚未发布、但已注册的相机。以下为尼康6款相机信息汇…
            
sony e卡口镜头推荐 索尼e系列镜头摄影教程来自SAR的最新消息,经可靠消息来源确认,在9月18日的发布会上,索尼将会推出新款E卡口镜头。届时,索尼可能会推…
            
2020 如何选好人像摄影的色调呢 人像色彩咋调最好摄影教程由于光线的使用、人物主体的服装搭配以及背景颜色的选择等不同因素的作用,人像摄影照片会呈现出不同的影调…
            
反光体的拍摄技巧 拍摄反光体的注意事项 全反光型布光关键是光性软、弱、均,光源面积大和间接照明。 这类被摄体表面的光洁度不如全反光型高。但表面光亮,仍有一定的反…
            
索尼a7r2五轴防抖 索尼相机五轴防抖怎么开相信大家已经看到了,SAR最近放出一系列关于索尼全画幅相机的消息,包括廉价全画幅A5等等。然而最新消息显示,索尼下一…
            
2018年佳能相机 佳能18年上市的相机摄影教程  2018年3月1日,佳能公司宣布参展2018年CP+摄影器材与影像展览会。佳能以“致所有的摄影爱好者,以更加…
            
佳能影像上传怎么设置 佳能影像上传微信小程序2018年10月22日,佳能(中国)有限公司(以下简称“佳能(中国)”)宣布对“佳能影像上传”服务进行升级,增加了可…
            


 RaindropSparkle
 RaindropSparkle 




































