- 2025年10月31日
- 星期五
作者:StarlightHope 第9页
- 发表文章368篇
婚纱摄影报价表摄影师如何根据场景复杂度定价外景拍摄的报价通常比棚拍高出30%左右,这不仅仅是场地成本的问题,想象一下在悬崖边拍摄时,摄影师需要不断调整反光板角度…
            
解密商业人像摄影用光 商业人像摄影的意义摄影教程 除了日光这样的自然光外,还有许多人造光源。所有连续光谱的光源都可以为摄影师所用。 非连续光谱的光源, 如大部分…
            
2021年佳能rf镜头计划 佳能rf镜头2020最新消息摄影教程佳能昨日在美国公布了一项编号为US2018/0252895A1的镜头专利,根据USPTO(美国专…
            
佳能广播级镜头官网 佳能广角镜头大全报价摄影教程来自CR的最新消息,据一消息来源透露,佳能可能会在本月举行的2018年IBC展会上发布一款专业广播级便携式摄像机…
            
拍摄时的构图技巧 实际拍摄过程当中你们是如何保证构图的完整跟美观?摄影就如同绘画、构图的作用极为重要。出色的构图,能使画面主次分明,详略得当,给人以美感。一幅照…
            
佳能2020年销售额 佳能2020营收摄影BCN最新公布了2018年12月日本数码相机月销售数据,榜单前十名中佳能独居其半,并且榜单前四名均被佳能垄断。其中佳能…
            
索尼 fe 35mm f1.4 za 索尼fe35 1.4摄影索尼FE 35mm F1.8镜头采用9组11片镜头结构设计,其中包含1枚非球面镜片。该款镜头滤镜尺…
            
使背景美丽虚化的人像摄影常用技巧有哪些 背景虚化人像照片怎么拍选择明亮的部分作为背景,并进行大幅虚化  选择光线能够照到的较为明亮的部分作为背景,这样可以避免画…
            
儿童摄影化妆技巧 儿童摄影妆面注意什么全影网:角膜真菌病:据有关调查显示,某些新的睫毛笔在使用前存在茄病镰刀菌污染的可占到15%左右,而在使用过程中其污染率就会…
            
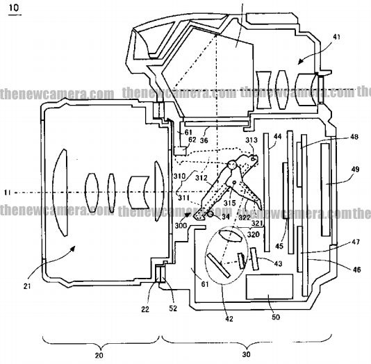
尼康公布全新的单反反光板专利了吗 尼康单反反光板掉下来怎么办摄影New Camera报道称,尼康在今年4月份申请了一项关于单反反光板的专利文件。其中提到,尼康在…
            
徕卡sl2-s发布 徕卡sl2上市时间摄影据外媒爆料,徕卡将于9月24日发布SL2相机,并将同步更新徕卡L卡口镜头路线图。而据较早前得到的消息,徕卡SL2相机将…
            
索尼a7s3传感器型号 索尼a7.3摄影来自Daily Camera News的最新报道,索尼在亚洲地区注册了一款代号为WW715296的新款相机,据我们猜测这…
            
佳能5d4测评与操作说明 佳能(canon)eos 5d mark iv 5d4照理说刚推出EOS 5Ds/5Ds R的佳能不会太急于对EOS 5D Mark …
            

 StarlightHope
 StarlightHope 













































