- 2025年10月31日
- 星期五
作者:Joy欢乐颂 第11页
- 发表文章404篇

2020 广告摄影中如何确定主光和副光 摄影主光的位置 任何一个画面布光给人的视觉印象都应为只有一个主光源。即主光照明的特征应十分明显地体现。因此,在布光中只能…
            
谈感光度,感光密度,曝光宽容度,反差与反射率的关系 感光度和曝光度的关系是什么摄影教程 目前我们越来越多地接触到MTF值的概念,一些镜头的广告和说明书中也直接列…
            
索尼a7000最新消息 索尼a7000什么时候上市摄影据DCN报道,索尼已经确认将在CP+ 2019展会上(2月28日至3月3日)推出一款全新的APS-C无反相…
            
巧用反射倒影,拍出创意大片的效果 倒影反射原理摄影教程除了 “好看” 之外,创意也是决定作品是否吸引人的关键性因素。如何让你的作品充满创意呢?试着利用一下倒影吧…
            
不同年龄段儿童的拍摄方法 儿童摄影各年龄段的引导技巧儿童在不同年龄段都有自己的特点,不同时期,不仅在饮食和教育等方面各有特点,拍摄照片也有不同的技巧和方式。1.…
            
婚纱照系列主要包含哪些风格的 婚纱照类型风格分类婚纱照不仅可以记录此刻的美好,更是一种永久的纪念,因此也是每一对新人都会拍摄的。但是如今花样繁多的婚纱照系列也是…
            
2020年全球数码相机出货量惨淡,比2019年减少42% 2020年全球相机销量摄影CIPA近日公布了2018年7月全球数码相机的出货量数据。夏季对于数码相机市…
            
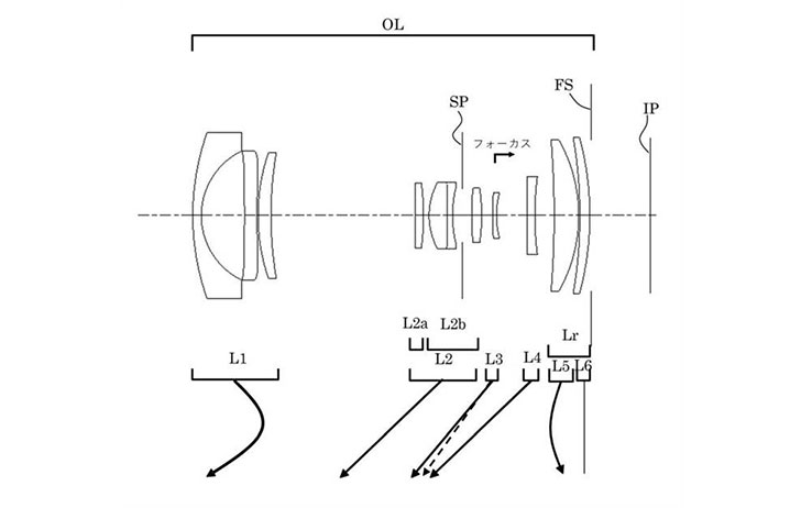
佳能镜头ef-m15-45的说明 佳能15–45mm镜头摄影来自CR的最新消息,佳能近日在日本又公布了一项新的无反相机镜头专利。据专利描述文件显示,这是一只EF…
            
佳能全像素双核raw 佳能cmos价格摄影近日,佳能在日本公布全像素双核CMOS动态范围提升技术专利,专利编号为2019-129491。目前,全像素双核CMOS…
            
2020 产品摄影中应注意哪些原则呢 产品摄影需要注意的点摄影教程对于产品摄影而言,一张好照片不仅仅要有明确的主题,还需要把观者的注意力吸引到所拍摄的主体上,以…
            

 Joy欢乐颂
 Joy欢乐颂 














































